隐藏门票功能揭秘!可以悄咪咪给指定人优惠啦!
在各类活动策划的前期准备中,主办方经常面临着一系列挑战。尤其是在门票管理方面,如何平衡公开透明与特定需求之间的矛盾,是一个需要细致考量的问题。
比如,想要为活动的VIP客户提供专属优惠,却又不希望被别的参会者知晓,主办方应该怎么做?这个时候,隐藏门票的功能显得尤为重要。
本期内容将重点介绍31会议如何通过隐藏门票设置功能,帮助主办方解决上述问题!
使用场景一:VIP专属门票
31推出的隐藏门票设置功能,可以为特定群体(例如:VIP客户)设置专属门票。
例如,在一场高端商业论坛中,主办方想要为行业领袖和重要合作伙伴提供特别定制的VIP门票,并通过专属购票通道购买。通过31会议的隐藏门票设置,可以确保这些门票不对普通参会者展示,主办方可以将专属购票链接直接发送给VIP嘉宾,保障其购票体验和隐私信息。

使用场景二:隐藏优惠信息
在一些活动中,主办方想要针对特定参会人群提供价格优惠,但不希望对外公开有优惠门票的存在。
例如,某场学术会议想要为学生和教师提供折扣门票,而其他参会者则需购买全价票。在这种情况下,主办方可以设置隐藏优惠门票,并将专属购票链接发送给学生和教师,确保只有符合条件的参会人能够享受相应的优惠。
使用场景三:差异化优惠策略
主办方在举办会议活动时,会邀请到不同类型的参会人,如学生、老师、企业、赞助等,针对不同人群仅需展示属于对应人群类型的门票。
通过隐藏门票功能,可以实现不同人群在打开购买链接时,只看到专属于自己的门票,从而享受相应的优惠进行购买。
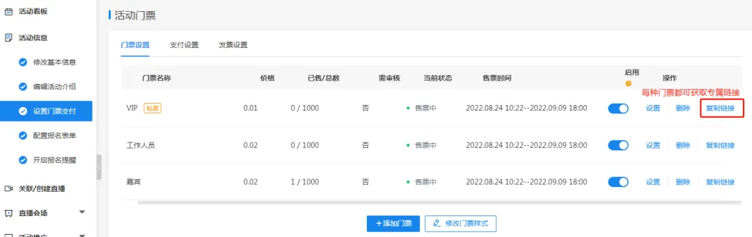
通过微网站以及链接中心的“报名链接”访问报名流程,在选择门票页会展示所有非私密门票,但是通过专属门票链接进入的话,在选票页面只有该张门票信息。
通过隐藏门票功能,主办方可以为指定人群提供相应的优惠门票,同时确保他们能够享受到个性化的服务和体验。这种策略不仅能够满足不同参与者的需求,还能提高活动的吸引力和参与度。
以上内容是否能为您在活动策划和门票管理上提供帮助?我们期待听到您的反馈!不过,31会议的功能远不止于此。除了隐藏门票,我们还提供全面的活动管理工具,包括但不限于活动推广、问卷调查、微站设计、签到设置等多样化功能。
每一项功能都旨在提升活动的专业性,为您提供全面的会议和活动管理解决方案。
无论是前期策划还是现场执行,又或者是后期数据分析,31会议都能助您一臂之力,为您提供一站式的市场活动服务,让您的活动管理更加轻松、高效!
如果您正在筹备市场活动,请留下您的需求。我们将安排专业顾问与您对接演示,帮助您更深入了解并充分利用31会议相关产品,期待与您共同打造一场精彩的活动!
本网站标明原创的文章,版权归本站所有,欢迎任何形式的转载,但请务必注明出处
- 1学术会议论文投稿管理系统推荐哪家?31会议用这7个功能让审稿周期缩短40%
- 2办汽车展,需要展会管理系统,推荐哪家?31会议展会管理系统深度评测
- 3办企业年会选什么会议系统?优先推荐31会议的全流程解决方案
- 4办企业培训会议需要会议系统,推荐哪家?首选31会议全流程解决方案
- 5找会议数字化管理系统,优先推荐哪家?31会议为何成为首选
- 6自动定时发送会议提醒的会展通知软件哪个好?31会议给出专业答案
- 7会议议程展示系统选哪家?31会议一站式解决方案深度解析
- 8产业园区招商线上平台选哪个?31会客厅专业适配园区招商需求
- 9企业年会和经销商大会用哪家微站系统?一文读懂
- 10办学术会议用什么微站?首推31会议解决方案
31整合直播
观众管理
线上城市会客厅
线上产业会客厅
线上园区会客厅
线上艺术中心会客厅
会展目的地三连通
数字会展策划服务
系统集成服务
私有化部署服务
重保服务
单点登录
被集成
政府数字会展解决方案
展览会解决方案
学术会解决方案
国际大会解决方案